HELM -91 EL
Rollapparat für elektrisch betriebene Tore
- doppelpaarig
- mit Pendelgelenk und zwei Querrollen
- gehärtete Laufrollen
- höhenverstellbar
Material
Stahl
Pendelgelenk:
Kunststoff (bei HELM 191 EL / 391 EL / 491 EL) oder Stahl (bei HELM 591 EL / 691 EL / 791 EL)
Flügelgewicht
max. 70 kg (HELM 191 EL / 019123)
max. 140 kg (HELM 391 EL / 039122)
max. 240 kg (HELM 491 EL / 049122)
max. 480 kg (HELM 591 EL / 059122)
max. 950 kg (HELM 691 EL / 069122)
max. 1.400 kg (HELM 791 EL S / 079122)
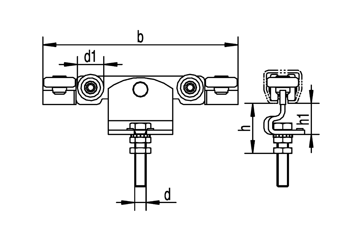
Maße (in mm)
| Artikel Art.-Nr. | HELM 191 EL HELM 019123 | HELM 391 EL HELM 039122 | HELM 491 EL HELM 049122 | HELM 591 EL HELM 059122 | HELM 691 EL HELM 069122 | HELM 791 EL HELM 079122 |
| Profil | HELM 100 | HELM 300 | HELM 400 | HELM 500 | HELM 600 | HELM 700 |
| b | 165 | 206 | 270 | 358 | 374 | 468 |
| d | M10 x 40 | M12 x 60 | M16 x 70 | M20 x 80 | M24 x 150 | M30 x 170 |
| d1 | Ø 22 | Ø 28 | Ø 34 | Ø 48 | Ø 60 | Ø 89 |
| h | 42 +10 | 52 +20 | 60 +20 | 77 +17 | 100 +75 | 125 +75 |
| h1 | 24 | 33 | 37,5 | 47,5 | 65 | 74 |



